Yeni Yamaha R1 Akıllı Aero Tanıtıldı

Yeni Yamaha R1 Akıllı Aero Tanıtıldı

Yamaha R1, uzun yıllardır süper spor motosiklet denildiğinde akla gelen ilk modellerden biri oldu. Ancak Euro5+ emisyon düzenlemeleri, Avrupa yollarında bu ikonik modelin satışına izin vermedi. Bugün ise Yamaha’nın geliştirdiği “Akıllı Aero Paket” ile R1’in sadece pistte değil, yeniden yollarda da boy gösterebileceğine dair güçlü sinyaller geliyor.

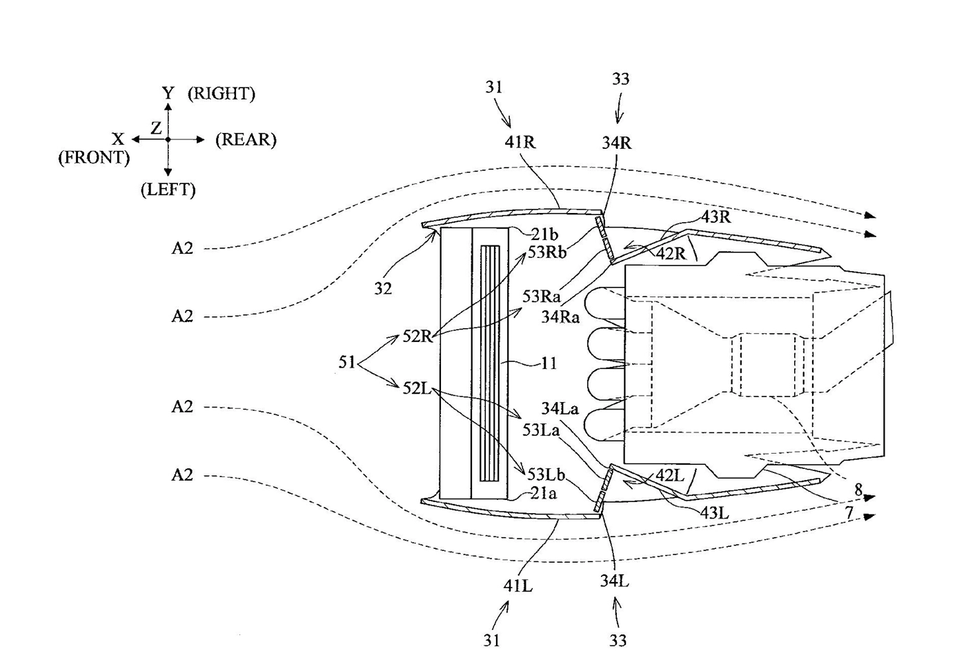
Yeni patent görüntüleri, R1’in aktif aerodinamik gövde yapısıyla donatıldığını ortaya koyuyor. Yan kaportalara entegre edilen hareketli panjurlar, sürüş şartlarına göre açılıp kapanıyor.

  • Step motor ve kayış sistemi sayesinde hafiflik ve maliyet avantajı sağlanıyor.
  • Sensörler, motor sıcaklığı, hız, gaz kelebeği ve hava sıcaklığı gibi verileri sürekli takip ediyor.
  • Kontrol ünitesi, bu verileri işleyerek panjurların açısını anlık olarak ayarlıyor.

Bu sistem, motosikletin hem yüksek hızlarda daha akıcı bir hava akışına kavuşmasını hem de duraklamalarda motorun serin tutulmasını sağlıyor.

Daha Az Sürtünme, Daha Fazla Hız

Aerodinamik panjurların getirdiği en büyük avantaj, rüzgar direncini azaltarak hızlanmayı kolaylaştırması. Kapalı panjurlar sayesinde:

  • Sürtünme katsayısı düşüyor, motosiklet daha hızlı hızlanabiliyor.
  • Türbülans ve yan rüzgar etkisi azalıyor, sürücü daha dengeli bir sürüş deneyimi yaşıyor.
  • Yakıt verimliliği artıyor, motor daha az enerji harcayarak yüksek hızlara çıkabiliyor.

Özellikle tam gaz hızlanmalarda panjurlar kapalı kalarak R1’in maksimum hız potansiyeli ortaya çıkarılıyor.

Yamaha’nın akıllı aero sistemi, yalnızca performans için değil aynı zamanda çevre düzenlemeleri için de kritik öneme sahip.

  • Katalitik konvertör daha hızlı optimum sıcaklığa ulaşıyor.
  • Daha verimli yanma sayesinde emisyon değerleri düşüyor.
  • Bu sayede R1’in yeniden Euro5+ uyumlu bir yol versiyonu olarak Avrupa pazarına dönmesi mümkün görünüyor.

Suzuki’nin GSX-R1000R modelini Euro5+ normlarına uyarlayarak piyasaya sürmesi, Yamaha’nın da benzer bir strateji izleyeceğine işaret ediyor.

Yarış dünyasında da aktif aerodinamiğin önemli etkileri olacak. Dünya Superbike Şampiyonası kuralları, homologe edilmiş yol motosikletlerinde hareketli aerodinamiğe izin veriyor. Bu da Yamaha R1’in pistte şunları elde edebileceği anlamına geliyor:

  • Daha yüksek maksimum hız avantajı
  • Daha düşük soğutma kaybıyla uzun yarışlarda istikrar
  • Rakiplerine karşı ekstra verimlilik ve hız kazancı

Yamaha R1, bugüne kadar yarış DNA’sı ile motosiklet dünyasında özel bir yere sahipti. Yeni aero paketle birlikte:

  • Performans tutkunlarını tatmin edecek güç ve hız sunacak.
  • Çevre düzenlemelerini karşılayarak modern regülasyonlarla uyumlu olacak.
  • Teknoloji, performans ve sürdürülebilirlik üçlüsünü bir araya getirecek.

Bu gelişmeler, Yamaha R1’in yalnızca bir motosiklet değil, süper spor motosikletlerin geleceğine yön verecek bir teknoloji vitrini olduğunun göstergesi.

Leave a Reply

E-posta adresiniz yayınlanmayacak. Gerekli alanlar * ile işaretlenmişlerdir


İstanbul Evden Eve Nakliyat